Каталог запасных частей к технике: Lemken EurOpal 9. Basic frame E9-OF-160-4-1000

zoom-in zoom-out enlarge shrink circle-right circle-left file-text2 info cart arraw right arraw left zoom out zoom in arraw maximize arraw minimize
1
2
3
3
4
5
6
7
8
8
9
10
10
11
11
12
13
13
13
13
14
14
15
16
17
17
18
19
20
20
21
22
23
24
25
26
26
27
27
28
29
29
30
31
32
32
33
34
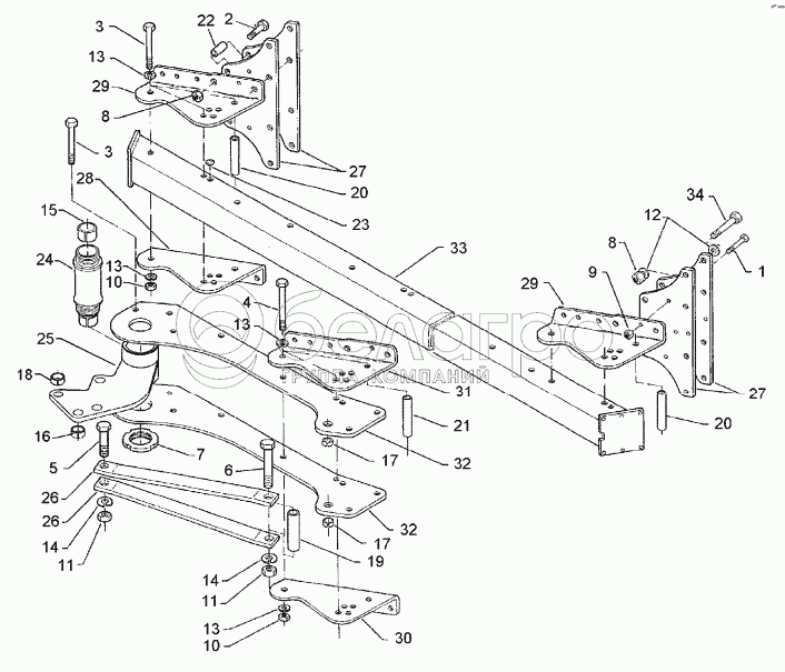
9
303 0974
Nut
В узле: 8
3030974 Гайка М14-8,0 DIN 934 Под заказ 146 тнг.
1
301 3607
Bolt
В узле: 8
2
301 4408
Bolt
В узле: 16
3
301 4542
Bolt
В узле: 15
4
301 4546
Bolt
В узле: 3
5
301 4646
Bolt
В узле: 1
6
301 4850
Bolt
В узле: 1
7
303 0375
Grooved nut
В узле: 2
8
303 0936
Selflocking nut
В узле: 24
10
303 0977
Nut
В узле: 18
11
303 0980
Nut
В узле: 2
12
305 6164
Washer
В узле: 16
13
305 9888
Spring ring
В узле: 36
14
305 9889
Spring ring
В узле: 4
15
317 2035
Expansion bush
В узле: 2
16
317 3404
Expansion bush
В узле: 1
17
317 3406
Expansion bush
В узле: 2
18
317 3417
Expansion bush
В узле: 1
19
317 6663
Tube
В узле: 1
20
317 7513
Bushing
В узле: 3
21
317 7514
Tube
В узле: 1
22
317 6947
Bush
В узле: 16
23
323 8071
Cap
В узле: 52
24
402 1281
Lagerrohr
В узле: 1
25
402 1733
Rocker arm
В узле: 1
26
402 1803
Support
В узле: 2
27
402 2572
Stalk plate
В узле: 8
28
402 2566
Adjusting bracket
В узле: 3
29
402 2567
Adjusting bracket
В узле: 3
30
402 2568
Adjusting bracket
В узле: 1
31
402 2569
Adjusting bracket
В узле: 1
32
402 2875
Bearing plate
В узле: 2
33
402 8289
Basic frame
В узле: 1
34
301 4607
Bolt
В узле: 8
Содержащиеся в справочниках-каталогах запасные части и детали не предлагаются к продаже, а носят исключительно информационный характер

Ваша заявка была отправлена. В ближайшее время наши специалисты с Вами свяжутся по указанному Вами телефону.

Представьтесь
Поле обязательно для заполнения
Ваш телефон
Введите правильный номер телефона
E-mail
Введите правильный e-mail
Тема
Тема
применяемость финансирование доставка цена, наличие другое сервис и гарантия
Время для звонка
08:00
08:00 09:00 10:00 11:00 12:00 13:00 14:00 15:00 16:00 17:00 18:00 19:00
19:00
08:00 09:00 10:00 11:00 12:00 13:00 14:00 15:00 16:00 17:00 18:00 19:00

Мы постараемся перезвонить в указанное время

Если вы не хотите ждать, то звоните нашим вежливым консультантам:

8 800 100-2-700
Название
Представьтесь
Поле обязательно для заполнения
Ваш город
Ваш город
Ваш телефон
Введите правильный номер телефона
E-mail
Введите правильный e-mail
Сообщение
Вы можете приложить любые документы (например, список требуемых позиций)
Подтвердите, что вы не робот
Подтвердите, что вы не робот
Подтвердите, что вы не робот
Подтвердите, что вы не робот
Спасибо!

Ваше сообщение успешно отправлено!

ЗакрытьПовторить попытку