Каталог запасных частей к технике: МТЗ 922.3 / 922.4. Муфта блокировки дифференциала «мокрая»

zoom-in zoom-out enlarge shrink circle-right circle-left file-text2 info cart arraw right arraw left zoom out zoom in arraw maximize arraw minimize
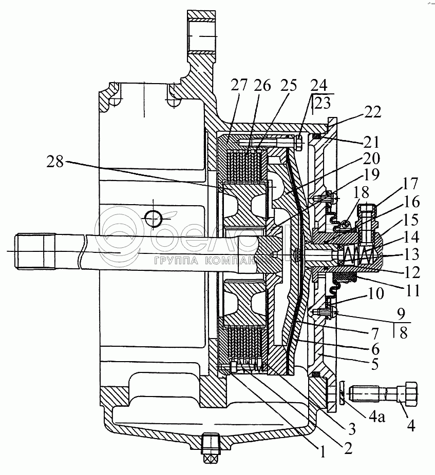
1
2
3
3
3
3
3
3
3
3
4
5
6
7
8
9
10
11
12
13
14
15
16
17
18
19
20
21
22
23
24
25
26
27
28
2
50-1702148-А
Пружина фиксатора
В узле: 4
50-1702148-А Пружина МТЗ, Беларусь Под заказ 103 тнг.
6
70-2409030-Б
Крышка диафрагмы
В узле: 1
70-2409030-Б Крышка МТЗ, (А) Под заказ 3 960 тнг.
80М-2409010
Муфта блокировки
В узле: 1
1221М-2409050-01
Переходник
В узле: 1
1
80М-2409002
Палец
В узле: 4
3
80М-2409028
Диск отжимной
В узле: 1
3
80М-2409028-01
Диск отжимной
В узле: 1
3
80М-2409028-02
Диск отжимной
В узле: 1
3
80М-2409028-03
Диск отжимной
В узле: 1
3
80М-2409028-04
Диск отжимной
В узле: 1
3
80М-2409028-05
Диск отжимной
В узле: 1
3
80М-2409028-06
Диск отжимной
В узле: 1
4
1221М-3502039
Болт
В узле: 5
14.ОТ
Шайба
В узле: 5
5
1221М-2409034-01
Крышка
В узле: 1
7
70-2409021
Диафрагма
В узле: 1
8
В.М6-6gх10.58.019
Винт
В узле: 8
9
Шайба6Т
Шайба
В узле: 8
10
80М-2409037
Кольцо
В узле: 1
11
80М-2409036
Уплотнитель
В узле: 1
12
70-2409033-Б
Кольцо
В узле: 1
13
70-2409027-А
Втулка
В узле: 1
14
54.06.448-А
Пружина
В узле: 1
15
70-2409026-Б
Переходник
В узле: 1
16
020-025-30-1-4
Кольцо
В узле: 1
17
85-3407470
Штуцер
В узле: 1
18
5000.05
Хомут
В узле: 1
19
70-2409020-02
Вал блокировочный
В узле: 1
20
80М-2409018
Диск нажимной
В узле: 1
21
205-215-58-2-2
Кольцо
В узле: 1
22
1221М-2409051
Прокладка
В узле: 1
23
М8-6gх40.88.35.019
Болт
В узле: 8
24
Шайба8Т
Шайба 8Т
В узле: 8
25
80М-2409016
Диск промежуточный
В узле: 5
26
2522-1802035-А
Диск ведущий
В узле: 6
27
80М-2409015
Корпус муфты
В узле: 1
28
80M-2409001
Ступица
В узле: 1
Содержащиеся в справочниках-каталогах запасные части и детали не предлагаются к продаже, а носят исключительно информационный характер

Ваша заявка была отправлена. В ближайшее время наши специалисты с Вами свяжутся по указанному Вами телефону.

Представьтесь
Поле обязательно для заполнения
Ваш телефон
Введите правильный номер телефона
E-mail
Введите правильный e-mail
Тема
Тема
применяемость финансирование доставка цена, наличие другое сервис и гарантия
Время для звонка
08:00
08:00 09:00 10:00 11:00 12:00 13:00 14:00 15:00 16:00 17:00 18:00 19:00
19:00
08:00 09:00 10:00 11:00 12:00 13:00 14:00 15:00 16:00 17:00 18:00 19:00

Мы постараемся перезвонить в указанное время

Если вы не хотите ждать, то звоните нашим вежливым консультантам:

8 800 100-2-700
Название
Представьтесь
Поле обязательно для заполнения
Ваш город
Ваш город
Ваш телефон
Введите правильный номер телефона
E-mail
Введите правильный e-mail
Сообщение
Вы можете приложить любые документы (например, список требуемых позиций)
Подтвердите, что вы не робот
Подтвердите, что вы не робот
Подтвердите, что вы не робот
Подтвердите, что вы не робот
Спасибо!

Ваше сообщение успешно отправлено!

ЗакрытьПовторить попытку