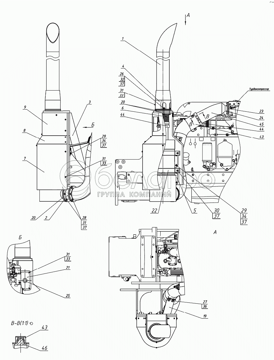
Каталог запасных частей к технике: МТЗ-1221.5. Установка глушителя

zoom-in zoom-out enlarge shrink circle-right circle-left file-text2 info cart arraw right arraw left zoom out zoom in arraw maximize arraw minimize
1
2
3
4
5
6
7
8
9
19
20
20
21
22
23
24
25
26
27
28
29
29
30
31
31
31
31
32
33
33
33
34
34
36
37
37
37
37
37
43
43
44
44
45
46
1221.5Р-1205005
Установка глушителя
В узле: ---
1
1221.5-1205110
Труба глушителя
В узле: 1
2
1221.5-1205120
Патрубок
В узле: 1
3
1221.5-1205835
Установка кронштейна
В узле: 1
4
2022.5-1205020
Ограждение
В узле: 1
5
2022.5Р-1205030
Кронштейн нейтрализатора
В узле: 2
6
2022.5-1205110
Компенсатор
В узле: 1
7
2022.5-1205760-Б
Ограждение
В узле: 1
8
2022.5-1205775-Б
Ограждение
В узле: 1
9
2022.5-1205780
Ограждение
В узле: 1
19
1221.5-1205856
Кронштейн
В узле: 1
20
2022.5-1205001
Прокладка
В узле: 4
21
2022.5-1205011
Крышка
В узле: 1
22
2022.5Р-1205034
Скоба
В узле: 2
23
2022-1205006-Б
Прокладка
В узле: 1
24
265-1205028-01
Болт
В узле: 6
25
70-3723042-02
Втулка
В узле: 1
26
БолтM10-6gх65.88.35.019
Болт
В узле: 6
27
БолтM8-6gх20.88.35.019
Болт
В узле: 4
28
БолтM10-6gх25.88.35.019
Болт
В узле: 12
29
БолтM10-6gх30.88.35.019
Болт
В узле: 10
30
БолтM10-6gх35.88.35.019
Болт M10-6gх35.88.35.019
В узле: 4
31
БолтM6-6gх16.88.35.019
Болт
В узле: 21
32
ГайкаМ10-6Н.04.019
Гайка
В узле: 22
33
ШайбаС.6.01.019
Шайба С.6.01.019
В узле: 21
34
ШайбаС.10.01.019
Шайба С.10.01.019
В узле: 8
35
Шайба6Т
Шайба
В узле: 21
36
Шайба8Т
Шайба 8Т
В узле: 4
37
Шайба10.ОТ
Шайба
В узле: 32
42
РКа260.4-1206010
Нейтрализатор
В узле: 1
43
Д-260.4
Труба
В узле: 1
44
78803
Хомут
В узле: 2
45
000.4859.404.000
Воздуховод
В узле: 1
46
260-1008059
Фланец
В узле: 1
Содержащиеся в справочниках-каталогах запасные части и детали не предлагаются к продаже, а носят исключительно информационный характер

Ваша заявка была отправлена. В ближайшее время наши специалисты с Вами свяжутся по указанному Вами телефону.

Представьтесь
Поле обязательно для заполнения
Ваш телефон
Введите правильный номер телефона
E-mail
Введите правильный e-mail
Тема
Тема
применяемость финансирование доставка цена, наличие другое сервис и гарантия
Время для звонка
08:00
08:00 09:00 10:00 11:00 12:00 13:00 14:00 15:00 16:00 17:00 18:00 19:00
19:00
08:00 09:00 10:00 11:00 12:00 13:00 14:00 15:00 16:00 17:00 18:00 19:00

Мы постараемся перезвонить в указанное время

Если вы не хотите ждать, то звоните нашим вежливым консультантам:

8 800 100-2-700
Название
Представьтесь
Поле обязательно для заполнения
Ваш город
Ваш город
Ваш телефон
Введите правильный номер телефона
E-mail
Введите правильный e-mail
Сообщение
Вы можете приложить любые документы (например, список требуемых позиций)
Подтвердите, что вы не робот
Подтвердите, что вы не робот
Подтвердите, что вы не робот
Подтвердите, что вы не робот
Спасибо!

Ваше сообщение успешно отправлено!

ЗакрытьПовторить попытку